En
中文
/
En
首页
医院概况
医院介绍
发展特色
领导团队
院区布局
邵医文化
联系我们
党群工作
邵医党建
廉政建设
统战工作
邵医工会
邵医团委
新闻资讯
医院动态
媒体报道
通知公告
采购信息
医疗服务
预约挂号
专家排班
科室介绍
专家介绍
就医指南
报告查询
医保医费服务
护理团队
健康促进(体检)
新技术新项目
科学研究
科研概况
科研动态
科研项目
转化成果
科研平台
科研成果
临床研究
国家工程研究中心
教育培训
教学概况
教学动态
教育学院
进修培训
培训中心
医学模拟中心
合作交流
国内合作
国际交流
交流动态
进修参访
人才招聘
医院概况
医院介绍
发展特色
领导团队
院区布局
邵医文化
联系我们
党群工作
邵医党建
廉政建设
统战工作
邵医工会
邵医团委
新闻资讯
医院动态
媒体报道
通知公告
采购信息
医疗服务
预约挂号
专家排班
科室介绍
专家介绍
就医指南
报告查询
医保医费服务
护理团队
健康促进(体检)
新技术新项目
科学研究
科研概况
科研动态
科研项目
转化成果
科研平台
科研成果
临床研究
国家工程研究中心
教育培训
教学概况
教学动态
教育学院
进修培训
培训中心
医学模拟中心
合作交流
国内合作
国际交流
交流动态
进修参访
人才招聘
无障碍阅读
器官捐献
健康宣教
自助知识库
邮箱入口
官方微信
服务号
官方微信
订阅号
邵逸夫互联网医院公众号
支付宝
服务窗
English
搜索你想要找的
文章
科室
医生
临床试验机构
临床试验机构
首页
/
临床试验机构
/
机构概况
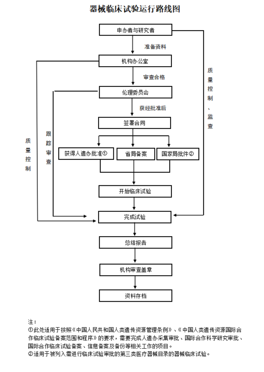
临床试验运行路线图
2025-09-16
1935
上一篇
机构管理体系框架图
下一篇
机构联系方式
AI数字人
您好!有医学相关问题请咨询AI数字人
请升级浏览器版本
你正在使用旧版本浏览器。请升级浏览器以获得更好的体验。
Chrome
Firefox
Opera
Edge
加载中
✕